فريسكيل 68HC11 (Q3578748)

من Marefa data
series of 8-bit microcontrollers الإنجليزية
  • فريسكيل ٦٨HC١١
اللغة التسمية الوصف أسماء أخرى
العربية
فريسكيل 68HC11
لا يوجد وصف
  • فريسكيل ٦٨HC١١
الإنجليزية
68HC11
series of 8-bit microcontrollers
  • Motorola 68HC11

بيانات

Wikidata item الإنجليزية
٠ مرجع
Freebase ID الإنجليزية
١ مراجع
Imported from Wikidata item الإنجليزية
Commons category الإنجليزية
Motorola 68HC11
١ مراجع
Imported from Wikidata item الإنجليزية
instance of الإنجليزية
integrated circuit series الإنجليزية
١ مراجع
Imported from Wikidata item الإنجليزية
image الإنجليزية
KL Motorola 68HC11.jpg
١٬٦١١ × ٧٨٩؛ ٢٠٧ كيلوبايت
١ مراجع
Imported from Wikidata item الإنجليزية
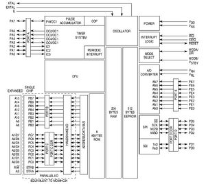
schematic الإنجليزية
68HC11 Block Diagram.jpg
٧٥٠ × ٦٧٠؛ ٧٧ كيلوبايت
١ مراجع
Imported from Wikidata item الإنجليزية
subclass of الإنجليزية
١ مراجع
Imported from Wikidata item الإنجليزية
developer الإنجليزية
manufacturer الإنجليزية
NXP Semiconductors الإنجليزية
١ مراجع
Imported from Wikidata item الإنجليزية