ماغنافوكس أوديسي (Q44469)

من Marefa data
أول نظام ألعاب فيديو منزلي
  • أوديسي
اللغة التسمية الوصف أسماء أخرى
العربية
ماغنافوكس أوديسي
أول نظام ألعاب فيديو منزلي
  • أوديسي
الإنجليزية
Odyssey
first commercial home video game console
  • Odyssee
  • Magnavox Odyssey

بيانات

Wikidata item الإنجليزية
٠ مرجع
Commons category الإنجليزية
Magnavox Odyssey
١ مراجع
Imported from Wikidata item الإنجليزية
subclass of الإنجليزية
has part(s) of the class الإنجليزية
quantity الإنجليزية
٢٢
١ مراجع
Imported from Wikidata item الإنجليزية
title الإنجليزية
Magnavox Odyssey (الإنجليزية)
١ مراجع
Imported from Wikidata item الإنجليزية
country of origin الإنجليزية
Freebase ID الإنجليزية
١ مراجع
Imported from Wikidata item الإنجليزية
publication date الإنجليزية
سبتمبر 1972http://data.marefa.org/entity/Q1985727
١ مراجع
Imported from Wikidata item الإنجليزية
1973http://data.marefa.org/entity/Q1985727
١ مراجع
Imported from Wikidata item الإنجليزية
1974http://data.marefa.org/entity/Q1985727
place of publication الإنجليزية
١ مراجع
Imported from Wikidata item الإنجليزية
أكتوبر 1973http://data.marefa.org/entity/Q1985727
place of publication الإنجليزية
١ مراجع
Imported from Wikidata item الإنجليزية
manufacturer الإنجليزية
Magnavox الإنجليزية
١ مراجع
Imported from Wikidata item الإنجليزية
part of الإنجليزية
Odyssey series الإنجليزية
١ مراجع
Imported from Wikidata item الإنجليزية
designed by الإنجليزية
١ مراجع
Imported from Wikidata item الإنجليزية
units sold الإنجليزية
٣٥٠٬٠٠٠
١ مراجع
Imported from Wikidata item الإنجليزية
discontinued date الإنجليزية
٢٣ يوليو 1975http://data.marefa.org/entity/Q1985727
١ مراجع
Imported from Wikidata item الإنجليزية
part of the series الإنجليزية
Odyssey series الإنجليزية
١ مراجع
Imported from Wikidata item الإنجليزية
followed by الإنجليزية
Odyssey 100 الإنجليزية
١ مراجع
Imported from Wikidata item الإنجليزية
announcement date الإنجليزية
٢٢ مايو 1972http://data.marefa.org/entity/Q1985727
place of publication الإنجليزية
Tavern on the Green الإنجليزية
١ مراجع
Imported from Wikidata item الإنجليزية
uses الإنجليزية
instance of الإنجليزية
١ مراجع
Imported from Wikidata item الإنجليزية
follows الإنجليزية
Brown Box الإنجليزية
١ مراجع
Imported from Wikidata item الإنجليزية
input device الإنجليزية
١ مراجع
Imported from Wikidata item الإنجليزية
logo image الإنجليزية
Magnavox Odyssey Logo.svg
٦٠٠ × ١٢٩؛ ٤ كيلوبايت
١ مراجع
Imported from Wikidata item الإنجليزية
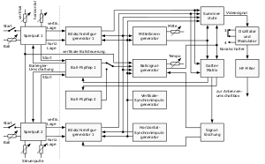
schematic الإنجليزية
Blockschaltbild Odyssey clean.svg
٥١٢ × ٣١٧؛ ١٦ كيلوبايت
١ مراجع
Imported from Wikidata item الإنجليزية
developer الإنجليزية
Magnavox الإنجليزية
١ مراجع
Imported from Wikidata item الإنجليزية
language of work or name الإنجليزية